Высококачественный насос ZEN Вертикальный турбинный пожарный насос XBD с длинным валом состоит из нескольких центробежных рабочих колес, направляющих кожухов, водопроводных труб, трансмиссионных валов, двигателей основания насоса и других компонентов. Основание насоса и двигатель расположены над бассейном, а мощность двигателя передается на вал рабочего колеса через трансмиссионный вал, концентричный водопроводной трубе, создавая тем самым поток и давление.
La pompe à incendie à turbine verticale à arbre long XBD de la pompe ZEN de haute qualité est composée de trois parties : la partie active, la partie eau et la partie surface.
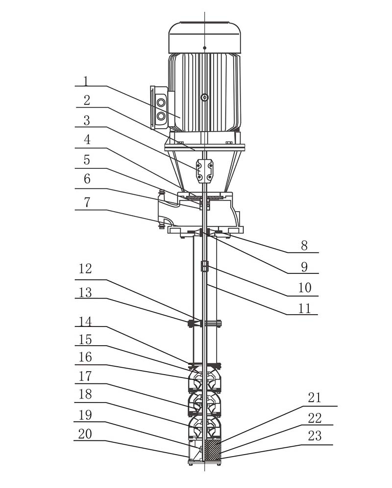
1. Partie travaillante
Эта часть состоит из рабочих частей и частей водяного фильтра. Рабочие части состоят из направляющего кожуха, рабочего колеса, конической втулки, подшипника скольжения, вала рабочего колеса и других деталей. Рабочее колесо представляет собой замкнутую конструкцию. Кожухи соединены болтами. На направляющий кожух и рабочее колесо могут быть установлены компенсационные кольца.
2. Partie plomberie
Эта часть состоит из водопроводных труб, приводных валов, муфт и кронштейнов. Водопроводная труба соединена фланцем, а вал трансмиссии изготовлен из стали 2Cr13 или нержавеющей стали.
3. Partie superficielle
Se compose de composants de base de pompe, de moteur, de support de moteur, d'accouplement et d'autres composants.
La pompe à incendie à turbine verticale à arbre long modèle XBD est principalement utilisée pour l'extinction d'incendie avec des bouches d'incendie, l'extinction d'incendie par aspersion automatique et d'autres systèmes d'extinction d'incendie dans les entreprises industrielles et minières, le génie civil, les immeubles de grande hauteur, l'approvisionnement en eau et le drainage publics, etc.
1. En règle générale, eau propre et non agressive.
2. La teneur en matières solides dans l'eau (en poids) ne dépasse pas 0,01 %.
3. Valeur du pH comprise entre 6,5 et 8,5.
4. Содержание сероводорода не более 1,5 мг/л.
5. La température de l'eau ne doit pas dépasser 40°C.
DÉBIT : 5–110 (l/s)
EFFORT : 32–200 (m)
PUISSANCE : 3–200 (kW)
RPM DE COURSE : 3000 RPM.
La pompe à incendie à turbine se compose de trois parties : la partie active, la partie eau et la partie surface.
1. Partie travaillante
Эта часть состоит из рабочих частей и частей водяного фильтра. Рабочие части состоят из направляющего кожуха, рабочего колеса, конической втулки, подшипника скольжения, вала рабочего колеса и других деталей. Рабочее колесо представляет собой замкнутую конструкцию. Кожухи соединены болтами. На направляющем кожухе и рабочем колесе могут быть установлены компенсационные кольца.
2. Partie plomberie
Эта часть состоит из водопроводных труб, приводных валов, муфт и деталей кронштейна.
Водопроводная часть соединена фланцем, а материал вала трансмиссии – 2Cr13 или нержавеющая сталь.
3. Partie superficielle
Эта часть состоит из компонентов основания насоса, двигателя, кронштейна двигателя, муфты и других деталей.
1. En règle générale, eau propre et non agressive.
2. Содержание твердых веществ в воде (по массе) – не более 0,01%.
3. Valeur pH – entre 6,5 et 8,5.
4. Содержание сероводорода – не более 1,5 мг/л.
5. La température de l'eau ne doit pas dépasser 40 °C.
|
№ |
ÉLÉMENT | Материал |
| 1 | le moteur | СБОРОЧНЫЙ УЗЕЛ |
| 2 | Support moteur | QT400-18 |
| 3 | couplage | ZG235-150 |
| 4 | Крышка уплотнения | QT100-18 |
| 5 | Garniture mécanique | CARBONE-SIC-NBR |
| 6 | Держатель уплотнения | ZG235-450 |
| 7 | Tuyau de sortie | QT400-18 |
| 8 | Tuyau de sortie | QT400-18 |
| 9 | Arbre de support | COTON NIRON |
| 10 | couplage | ZG235-150 |
| 11 | Вал | 20CR13 |
| 12 | Опорный подшипник | COTON NIRON |
| 13 | Кронштейн | QT100-18 |
| 14 | Верхняя чаша | QT100-18 |
| 15 | Roulement de bol | CAOUTCHOUC |
| 16 | Une tasse | 20CR13 |
| 17 | Turbine |
06CR19N110 |
| 18 | Bol du milieu | QT400-18 |
| 19 | Palier | CAOUTCHOUC |
| 20 | Всасывающий колокол | QT100-18 |
| 21 | Filtre | O6CR19NI10 |
| 22 | Disque de poussée | 20CR13 |
| 23 | Передняя упорная пластина | MÉLANGE DE TÉFLON |
| Nombre | Taper | Débit nominal (L/S) |
Effort (m) |
Pouvoir (kW) |
Vitesse (tr/min) |
Calibre (mm) |
Pression de service maximale (≤MPa) |
150 % de la pression nominale du débit (≥MPa) |
| 1 | XBD4.0/1WJ-SEAD | 1 | 40 | 3 | 3000 | 50 | 0.560 | 0.260 |
| 2 | XBD5.0/1WJ-SEAD | 1 | 50 | 4 | 3000 | 50 | 0.700 | 0.325 |
| 3 | XBD6.0/1WJ-SEAD | 1 | 60 | 4 | 3000 | 50 | 0.840 | 0.390 |
| 4 | XBD7.0/1WJ-SEAD | 1 | 70 | 5.5 | 3000 | 50 | 0.980 | 0.455 |
| 5 | XBD8.0/1WJ-SEAD | 1 | 80 | 7.5 | 3000 | 50 | 1.120 | 0.520 |
| 6 | APPAREIL XBD9.0/1WJ | 1 | 90 | 7.5 | 3000 | 50 | 1.260 | 0.585 |
| 7 | XBD10.0/1WJ-SEAD | 1 | 100 | 11 | 3000 | 50 | 1.400 | 0.650 |
| 8 | APPAREIL XBD11.0/1WJ | 1 | 110 | 11 | 3000 | 50 | 1.540 | 0.715 |
| 9 | XBD12.0/1WJ-SEAD | 1 | 120 | 11 | 3000 | 50 | 1.680 | 0.780 |
| 10 | XBD13.0/1WJ-SEAD | 1 | 130 | 11 | 3000 | 50 | 1.820 | 0.815 |
| 11 | XBD14.0/1WJ-SEAD | 1 | 140 | 15 | 3000 | 50 | 1.960 | 0.910 |
| 12 | XBD15.0/1WJ-SEAD | 1 | 150 | 15 | 3000 | 50 | 2.100 | 0.975 |
| 13 | XBD16.0/1WJ-SEAD | 1 | 160 | 15 | 3000 | 50 | 2.240 | 1.040 |
| 14 | XBD16.8.0/1WJ-SEAD | 1 | 168 | 3 | 3000 | 50 | 2.352 | 1.092 |
| 15 | XBD4.0/3WJ-SEAD | 3 | 40 | 4 | 3000 | 50 | 0.560 | 0.260 |
| 16 | XBD5.0/3WJ-SEAD | 3 | 50 | 5.5 | 3000 | 50 | 0.700 | 0.325 |
| 17 | XBD6.0/3WJ-SEAD | 3 | 60 | 7.5 | 3000 | 50 | 0.840 | 0.390 |
| 18 | XBD7.0/3WJ-SEAD | 3 | 70 | 7.5 | 3000 | 50 | 0.980 | 0.455 |
| 19 | XBD8.0/3WJ-SEAD | 3 | 80 | 7.5 | 3000 | 50 | 1.120 | 0.520 |
| 20 | XBD9.0/3WJ-SEAD | 3 | 90 | 7.5 | 3000 | 50 | 1.260 | 0.585 |
| 21 | XBD10.0/3WJ-SEAD | 3 | 100 | 11 | 3000 | 50 | 1.400 | 0.650 |
| 22 | XBD11.0/3WJ-SEAD | 3 | 110 | 11 | 3000 | 50 | 1.540 | 0.715 |
| 23 | XBD12.0/3WJ-SEAD | 3 | 120 | 11 | 3000 | 50 | 1.680 | 0.780 |
| 24 | XBD13.0/3WJ-SEAD | 3 | 130 | 11 | 3000 | 50 | 1.820 | 0.815 |
| 25 | APPAREIL XBD14.0/3WJ | 3 | 140 | 15 | 3000 | 50 | 1.960 | 0.90 |
| 26 | XBD15.0/3WJ-SEAD | 3 | 150 | 15 | 3000 | 50 | 2.100 | 0.975 |
| 27 | XBD16.0/3WJ-SEAD | 3 | 160 | 15 | 3000 | 50 | 2.240 | 1.040 |
| 28 | XBD16.8/3WJ-SEAD | 3 | 168 | 15 | 3000 | 50 | 2.352 | 1.092 |
| 29 | APPAREIL XBD4.0/5WJ | 5 | 40 | 4 | 3000 | 50 | 0.560 | 0.260 |
| 30 | XBD5.0/5WJ-SEAD | 5 | 50 | 5.5 | 3000 | 50 | 0.700 | 0.325 |
| 31 | XBD6.0/5WJ-SEAD | 5 | 60 | 7.5 | 3000 | 50 | 0.840 | 0.390 |
| 32 | XBD7.0/5WJ-SEAD | 5 | 70 | 7.5 | 3000 | 50 | 0.980 | 0.455 |
| 33 | XBD8.0/5WJ-SEAD | 5 | 80 | 11 | 3000 | 50 | 1.120 | 0.520 |
| 34 | APPAREIL XBD9.0/5WJ | 5 | 90 | 11 | 3000 | 50 | 1.260 | 0.585 |
| 35 | APPAREIL XBD10.0/5WJ | 5 | 100 | 11 | 3000 | 50 | 1.400 | 0.650 |
| 36 | XBD11.0/5WJ-SEAD | 5 | 110 | 15 | 3000 | 50 | 1.540 | 0.780 |
| 37 | XBD12.0/5WJ-SEAD | 5 | 120 | 15 | 3000 | 50 | 1.680 | 0.845 |
| Nombre | Taper | Débit nominal (L/S) |
Effort (m) |
Pouvoir (kW) |
Vitesse (tr/min) |
Calibre (mm) |
Pression de service maximale (≤MPa) |
150 % de la pression nominale du débit (≥MPa) |
| 38 | XBD13.0/5WJ-SEAD | 5 | 130 | 15 | 3000 | 50 | 1.820 | 0.845 |
| 39 | APPAREIL XBD14.0/5WJ | 5 | 140 | 15 | 3000 | 50 | 1.960 | 0.910 |
| 40 | XBD15.0/5WJ-SEAD | 5 | 150 | 18.5 | 3000 | 50 | 2.100 | 0.975 |
| 41 | XBD16.0/5WJ-SEAD | 5 | 160 | 18.5 | 3000 | 50 | 2.240 | 1.040 |
| 42 | XBD16.8/5WJ-SEAD | 5 | 168 | 30 | 3000 | 50 | 2.352 | 1.092 |
| 43 | XBD3.3/5GJ-SEAD | 5 | 33 | 3 | 3000 | 50 | 0.462 | 0.215 |
| 44 | XBD4.0/5GJ-SEAD | 5 | 40 | 4 | 3000 | 50 | 0.560 | 0.260 |
| 45 | APPAREIL XBD6.0/5GJ | 5 | 60 | 5.5 | 3000 | 50 | 0.840 | 0.390 |
| 46 | APPAREIL XBD8.0/5GJ | 5 | 80 | 7.5 | 3000 | 50 | 1.120 | 0.520 |
| 47 | APPAREIL XBD10.0/5GJ | 5 | 100 | 11 | 3000 | 50 | 1.400 | 0.650 |
| 48 | XBD12.0/5GJ-SEAD | 5 | 120 | 15 | 3000 | 50 | 1.680 | 0.780 |
| 49 | DISPOSITIF XBD14.0/5GJ | 5 | 140 | 15 | 3000 | 50 | 1.960 | 0.910 |
| 50 | XBD16.3/5GJ-SEAD | 5 | 163 | 18.5 | 3000 | 50 | 2.282 | 1.060 |
| 51 | XBD3.2/10GJ-SEAD | 10 | 32 | 5.5 | 3000 | 80 | 0.448 | 0.208 |
| 52 | XBD4.2/10GJ-SEAD | 10 | 42 | 7.5 | 3000 | 80 | 0.588 | 0.273 |
| 53 | XBD5.0/10GJ-SEAD | 10 | 50 | 11 | 3000 | 80 | 0.700 | 0.325 |
| 54 | XBD6.0/10GJ-SEAD | 10 | 60 | 15 | 3000 | 80 | 0.840 | 0.390 |
| 55 | XBD8.4/10GJ-SEAD | 10 | 84 | 15 | 3000 | 80 | 1.176 | 0.546 |
| 56 | XBD9.6/10GJ-SEAD | 10 | 96 | 18.5 | 3000 | 80 | 1.344 | 0.624 |
| 57 | XBD10.0/10GJ-SEAD | 10 | 100 | 18.5 | 3000 | 80 | 1.400 | 0.650 |
| 58 | XBD11.0/10GJ-SEAD | 10 | 110 | 18.5 | 3000 | 80 | 1.540 | 0.715 |
| 59 | XBD12.0/10GJ-SEAD | 10 | 120 | 22 | 3000 | 80 | 1.680 | 0.780 |
| 60 | XBD13.0/10GJ-SEAD | 10 | 130 | 22 | 3000 | 80 | 1.820 | 0.845 |
| 61 | XBD14.4/10GJ-SEAD | 10 | 144 | 30 | 3000 | 80 | 2.016 | 0.936 |
| 62 | XBD15.6/10GJ-SEAD | 10 | 156 | 30 | 3000 | 80 | 2.184 | 1.014 |
| 63 | XBD17.0/10GJ-SEAD | 10 | 170 | 37 | 3000 | 80 | 2.380 | 1.105 |
| 64 | XBD18.0/10GJ-SEAD | 10 | 180 | 37 | 3000 | 80 | 2.520 | 1.170 |
| 65 | XBD3.6/15GJ-SEAD | 15 | 36 | 11 | 3000 | 80 | 0.501 | 0.231 |
| 66 | APPAREIL XBD4.0/15GJ | 15 | 40 | 11 | 3000 | 80 | 0.560 | 0.260 |
| 67 | XBD5.0/15GJ-SEAD | 15 | 50 | 15 | 3000 | 80 | 0.700 | 0.325 |
| 68 | XBD6.0/15GJ-SEAD | 15 | 60 | 15 | 3000 | 80 | 0.840 | 0.390 |
| 69 | XBD7.2/15GJ-SEAD | 15 | 72 | 18.5 | 3000 | 80 | 1.008 | 0.325 |
| 70 | XBD8.4/15GJ-SEAD | 15 | 84 | 22 | 3000 | 80 | 1.176 | 0.468 |
| 71 | XBD9.6/15GJ-SEAD | 15 | 96 | 22 | 3000 | 80 | 1.344 | 0.546 |
| 72 | XBD10.0/15GJ SEAD | 15 | 100 | 22 | 3000 | 80 | 1.400 | 0.624 |
| 73 | XBD11.0/15GJ-SEAD | 15 | 110 | 30 | 3000 | 80 | 1540 | 0.650 |
| 74 | XBD12.0/15GJ-SEAD | 15 | 120 | 30 | 3000 | 80 | 1680 | 0.715 |
| Nombre | Taper | Débit nominal (L/S) |
Effort (m) |
Pouvoir (kW) |
Vitesse (tr/min) |
Calibre (mm) |
Pression de service maximale (≤MPa) |
150 % de la pression nominale du débit (≥MPa) |
| 75 | XBD13.0/15GJ-SEAD | 15 | 130 | 37 | 3000 | 80 | 1.820 | 0.845 |
| 76 | APPAREIL XBD14.0/15GJ | 15 | 140 | 37 | 3000 | 80 | 1.960 | 0.910 |
| 77 | XBD15.6/15GJ-SEAD | 15 | 156 | 37 | 3000 | 80 | 2.184 | 1.014 |
| 78 | XBD17.0/15GJ-SEAD | 15 | 170 | 45 | 3000 | 80 | 2.380 | 1.105 |
| 79 | XBD18.2./15GJ-SEAD | 15 | 182 | 45 | 3000 | 80 | 2.518 | 1.183 |
| 80 | APPAREIL XBD20.0/15GJ | 15 | 200 | 55 | 3000 | 80 | 2.800 | 1.300 |
| 81 | XBD3.3/20GJ-SEAD | 20 | 33 | 11 | 3000 | 100 | 0.462 | 0.215 |
| 82 | APPAREIL XBD4.0/20GJ | 20 | 40 | 15 | 3000 | 100 | 0.580 | 0.260 |
| 83 | XBD4.4/20GJ-SEAD | 20 | 44 | 15 | 3000 | 100 | 0.616 | 0.286 |
| 84 | XBD5.0/20GJ-SEAD | 20 | 50 | 18.5 | 3000 | 100 | 0.700 | 0.325 |
| 85 | XBD5.5/20GJ-SEAD | 20 | 55 | 18.5 | 3000 | 100 | 0.770 | 0.358 |
| 86 | XBD6.0/20GJ-SEAD | 20 | 50 | 22 | 3000 | 100 | 0.700 | 0.325 |
| 87 | XBD6.6/20GJ-SEAD | 20 | 66 | 22 | 3000 | 100 | 0.924 | 0.429 |
| 88 | XBD7.0/20GJ-SEAD | 20 | 70 | 30 | 3000 | 100 | 0.980 | 0.455 |
| 89 | XBD8.0/20GJ-SEAD | 20 | 80 | 30 | 3000 | 100 | 1.120 | 0.520 |
| 90 | APPAREIL XBD9.0/20GJ | 20 | 90 | 30 | 3000 | 100 | 1.260 | 0.585 |
| 91 | XBD10.0/20GJ-SEAD | 20 | 100 | 37 | 3000 | 100 | 1.400 | 0.650 |
| 92 | XBD11.0/20GJ-SEAD | 20 | 110 | 37 | 3000 | 100 | 1.540 | 0.75 |
| 93 | DISPOSITIF XBD12.1/20GJ | 20 | 121 | 45 | 3000 | 100 | 1.694 | 0.787 |
| 94 | XBD14.0/20GJ-SEAD | 20 | 140 | 45 | 3000 | 100 | 1.960 | 0.910 |
| 95 | XBD16.0/20GJ-SEAD | 20 | 160 | 55 | 3000 | 100 | 2.240 | 1.040 |
| 96 | APPAREIL XBD18.0/20GJ | 20 | 180 | 55 | 3000 | 100 | 2.520 | 1.170 |
| 97 | APPAREIL XBD20.0/20GJ | 20 | 200 | 75 | 3000 | 100 | 2.800 | 1.300 |
| 98 | XBD3.2/25GJ-SEAD | 25 | 32 | 11 | 3000 | 100 | 0.448 | 0.208 |
| 99 | XBD4.2/25GJ-SEAD | 25 | 42 | 15 | 3000 | 100 | 0.588 | 0.273 |
| 100 | XBD5.3/25GJ-SEAD | 25 | 53 | 18.5 | 3000 | 100 | 0.742 | 0.345 |
| 101 | XBD6.3/25GJ-SEAD | 25 | 63 | 22 | 3000 | 100 | 0.882 | 0.410 |
| 102 | XBD7.3/25GJ-SEAD | 25 | 73 | 30 | 3000 | 100 | 1.022 | 0.475 |
| 103 | XBD8.4/25GJ-SEAD | 25 | 84 | 37 | 3000 | 100 | 1.176 | 0.546 |
| 104 | XBD9.0/25GJ-SEAD | 25 | 90 | 37 | 3000 | 100 | 1.260 | 0.585 |
| 105 | XBD10.0/25GJ-SEAD | 25 | 100 | 37 | 3000 | 100 | 1.400 | 0.950 |
| 106 | XBD11.0/25GJ-SEAD | 25 | 110 | 45 | 3000 | 100 | 1.540 | 0.715 |
| 107 | XBD12.0/25GJ-SEAD | 25 | 120 | 45 | 3000 | 100 | 1.680 | 0.780 |
| 108 | DISPOSITIF XBD14.0/25GJ | 25 | 140 | 55 | 3000 | 100 | 1.960 | 0.910 |
| 109 | XBD16.0/25GJ-SEAD | 25 | 160 | 75 | 3000 | 100 | 2.240 | 1.040 |
| 110 | XBD18.5/25GJ-SEAD | 25 | 185 | 75 | 3000 | 100 | 2.590 | 1.203 |
| 111 | XBD3.6/30GJ-SEAD | 30 | 36 | 15 | 3000 | 100 | 0.504 | 0.234 |
| Nombre | Taper | Débit nominal (L/S) |
Effort (m) |
Pouvoir (kW) |
Vitesse (tr/min) |
Calibre (mm) |
Pression de service maximale (≤MPa) |
150 % de la pression nominale du débit (≥MPa) |
| 112 | XBD4.2/30GJ-SEAD | 30 | 40 | 18.5 | 3000 | 100 | 0.560 | 0.260 |
| 113 | XBD5.0/30GJ-SEAD | 30 | 50 | 22 | 3000 | 100 | 0.700 | 0.325 |
| 114 | XBD6.0/30GJ-SEAD | 30 | 60 | 30 | 3000 | 100 | 0.840 | 0.390 |
| 115 | XBD7.2/30GJ-CHAAD | 30 | 72 | 30 | 3000 | 100 | 1.008 | 0.468 |
| 116 | APPAREIL XBD8.0/30GJ | 30 | 80 | 37 | 3000 | 100 | 1.120 | 0.520 |
| 117 | APPAREIL XBD9.0/30GJ | 30 | 90 | 45 | 3000 | 100 | 1.260 | 0.585 |
| 118 | APPAREIL XBD10.0/30GJ | 30 | 100 | 45 | 3000 | 100 | 1.400 | 0.650 |
| 119 | XBD11.0/30GJ-SEAD | 30 | 110 | 45 | 3000 | 100 | 1.540 | 0.715 |
| 120 | XBD13.0/30GJ-SEAD | 30 | 130 | 55 | 3000 | 100 | 1.820 | 0.845 |
| 121 | XBD14.5/30GJ-SEAD | 30 | 145 | 75 | 3000 | 100 | 2.030 | 0.943 |
| 122 | APPAREIL XBD16.2/30GJ | 30 | 162 | 75 | 3000 | 100 | 2.268 | 1.053 |
| 123 | APPAREIL XBD18.0/30GJ | 30 | 180 | 90 | 3000 | 100 | 2.520 | 1.170 |
| 124 | XBD20.0/30GJ-SEAD | 30 | 200 | 90 | 3000 | 100 | 2.800 | 1.300 |
| 125 | XBD3.2/35GJ-SEAD | 35 | 32 | 18.5 | 3000 | 100 | 0.448 | 0.208 |
| 126 | APPAREIL XBD4.0/35GJ | 35 | 40 | 22 | 3000 | 100 | 0.560 | 0.260 |
| 127 | XBD5.0/35GJ-SEAD | 35 | 50 | 30 | 3000 | 100 | 0.700 | 0.325 |
| 128 | XBD6.0/35GJ-SEAD | 35 | 60 | 30 | 3000 | 100 | 0.840 | 0.390 |
| 129 | XBD6.5/35GJ-SEAD | 35 | 65 | 37 | 3000 | 100 | 0.910 | 0.423 |
| 130 | XBD7.0/35GJ-SEAD | 35 | 70 | 37 | 3000 | 100 | 0.980 | 0.455 |
| 131 | XBD8.0/35GJ-SEAD | 35 | 80 | 45 | 3000 | 100 | 1.120 | 0.520 |
| 132 | APPAREIL XBD9.0/35GJ | 35 | 90 | 55 | 3000 | 100 | 1.260 | 0.585 |
| 133 | XBD10.0/35GJ-SEAD | 35 | 100 | 55 | 3000 | 100 | 1.400 | 0.650 |
| 134 | APPAREIL XBD11.2/35GJ | 35 | 112 | 75 | 3000 | 100 | 1.568 | 0.728 |
| 135 | XBD13.0/35GJ-SEAD | 35 | 130 | 75 | 3000 | 100 | 1.820 | 0.845 |
| 136 | XBD15.0/35GJ-SEAD | 35 | 150 | 90 | 3000 | 100 | 2.100 | 0.975 |
| 137 | XBD16.0/35GJ-SEAD | 35 | 160 | 90 | 3000 | 100 | 2.240 | 1.040 |
| 138 | XBD18.0/35GJ-SEAD | 35 | 180 | 110 | 3000 | 100 | 2.520 | 1.170 |
| 139 | XBD19.2/35GJ-SEAD | 35 | 192 | 110 | 3000 | 100 | 2.688 | 1.248 |
| 140 | XBD20.0/35GJ-SEAD | 35 | 200 | 132 | 3000 | 100 | 2.800 | 1.300 |
| 141 | XBD3.2/40GJ-SEAD | 40 | 32 | 22 | 3000 | 150 | 0.448 | 0.208 |
| 142 | APPAREIL XBD4.0/40GJ | 40 | 40 | 30 | 3000 | 150 | 0.560 | 0.260 |
| 143 | APPAREIL XBD4.8/40GJ | 40 | 48 | 30 | 3000 | 150 | 0.672 | 0.312 |
| 144 | XBD5.0/40GJ-SEAD | 40 | 50 | 37 | 3000 | 150 | 0.700 | 0.325 |
| 145 | APPAREIL XBD6.0/40GJ | 40 | 60 | 45 | 3000 | 150 | 0.840 | 0.390 |
| 146 | XBD7.0/40GJ-CHAAD | 40 | 70 | 45 | 3000 | 150 | 0.980 | 0.455 |
| 147 | XBD8.0/40GJ-SEAD | 40 | 80 | 55 | 3000 | 150 | 1.120 | 0.520 |
| 148 | APPAREIL XBD9.0/40GJ | 40 | 90 | 55 | 3000 | 150 | 1.260 | 0.585 |
| Nombre | Taper | Débit nominal (L/S) |
Effort (m) |
Pouvoir (kW) |
Vitesse (tr/min) |
Calibre (mm) |
Pression de service maximale (≤MPa) |
150 % de la pression nominale du débit (≥MPa) |
| 149 | XBD10.0/40GJ-SEAD | 40 | 100 | 55 | 3000 | 150 | 1.400 | 0.650 |
| 150 | APPAREIL XBD11.0/40GJ | 40 | 110 | 75 | 3000 | 150 | 1.540 | 0.715 |
| 151 | APPAREIL XBD12.0/40GJ | 40 | 120 | 75 | 3000 | 150 | 1680 | 0.780 |
| 152 | XBD14.0/40GJ-SEAD | 40 | 140 | 90 | 3000 | 150 | 1960 | 0.910 |
| 153 | XBD15.0/40GJ-SEAD | 40 | 150 | 90 | 3000 | 150 | 2100 | 0.975 |
| 154 | XBD16.5/40GJ-SEAD | 40 | 165 | 110 | 3000 | 150 | 2310 | 1.073 |
| 155 | APPAREIL XBD18.5/40GJ | 40 | 180 | 110 | 3000 | 150 | 2520 | 1.170 |
| 156 | APPAREIL XBD20.0/40GJ | 40 | 200 | 132 | 3000 | 150 | 2800 | 1.300 |
| 157 | XBD3.0/45GJ SEAD | 45 | 30 | 22 | 3000 | 150 | 0.420 | 0.195 |
| 158 | APPAREIL XBD4.0/45GJ | 45 | 40 | 30 | 3000 | 150 | 0.560 | 0.260 |
| 159 | APPAREIL XBD5.0/45GJ | 45 | 50 | 37 | 3000 | 150 | 0.700 | 0.325 |
| 160 | XBD6.0/45GJ-SEAD | 45 | 60 | 45 | 3000 | 150 | 0.810 | 0.390 |
| 161 | XBD7.0/45GJ-SEAD | 45 | 70 | 55 | 3000 | 150 | 0.980 | 0.455 |
| 162 | XBD8.0/45GJ-SEAD | 45 | 80 | 55 | 3000 | 150 | 1.120 | 0.520 |
| 163 | APPAREIL XBD9.0/45GJ | 45 | 90 | 75 | 3000 | 150 | 1.260 | 0.585 |
| 164 | APPAREIL XBD10.0/45GJ | 45 | 100 | 75 | 3000 | 150 | 1.400 | 0.650 |
| 165 | XBD3.2/50GJ-SEAD | 50 | 32 | 22 | 3000 | 150 | 0.448 | 0.208 |
| 166 | XBD4.0/50GJ-SEAD | 50 | 40 | 30 | 3000 | 150 | 0.560 | 0.260 |
| 167 | XBD4.5/50GJ-SEAD | 50 | 45 | 37 | 3000 | 150 | 0.630 | 0.293 |
| 168 | XBD5.0/50GJ-SEAD | 50 | 50 | 37 | 3000 | 150 | 0.700 | 0.325 |
| 169 | XBD6.0/50GJ-SEAD | 50 | 60 | 45 | 3000 | 150 | 0.840 | 0.390 |
| 170 | XBD7.0/50GJ-SEAD | 50 | 70 | 55 | 3000 | 150 | 0.980 | 0.455 |
| 171 | XBD8.0/50GJ-SEAD | 50 | 80 | 55 | 3000 | 150 | 1.120 | 0.520 |
| 172 | XBD9.0/50GJ-SEAD | 50 | 90 | 75 | 3000 | 150 | 1.260 | 0.585 |
| 173 | DISPOSITIF XBD10.5/50GJ | 50 | 105 | 75 | 3000 | 150 | 1.470 | 0.683 |
| 174 | XBD12.0/50GJ-SEAD | 50 | 120 | 90 | 3000 | 150 | 1.680 | 0.780 |
| 175 | XBD14.0/50GJ-SEAD | 50 | 140 | 110 | 3000 | 150 | 1.960 | 0.910 |
| 176 | XBD15.0/50GJ-CHAAD | 50 | 150 | 132 | 3000 | 150 | 2.100 | 0.975 |
| 177 | XBD17.0/50GJ-SEAD | 50 | 170 | 160 | 3000 | 150 | 2.380 | 1.105 |
| 178 | XBD18.0/50GJ-SEAD | 50 | 180 | 160 | 3000 | 150 | 2.520 | 1.170 |
| 179 | APPAREIL XBD20.0/50GJ | 50 | 200 | 200 | 3000 | 150 | 2.800 | 1.300 |
| 180 | XBD4.0/55GJ-SEAD | 55 | 40 | 37 | 3000 | 150 | 0.560 | 0.260 |
| 181 | XBD5.0/55GJ-SEAD | 55 | 50 | 45 | 3000 | 150 | 0.700 | 0.325 |
| 182 | XBD6.0/55GJ-SEAD | 55 | 60 | 55 | 3000 | 150 | 0.840 | 0.390 |
| 183 | XBD7.0/55GJ-SEAD | 55 | 70 | 55 | 3000 | 150 | 0.980 | 0.455 |
| 184 | XBD8.0/55GJ-SEAD | 55 | 80 | 75 | 3000 | 150 | 1.120 | 0.520 |
| 185 | XBD10.0/55GJ-SEAD | 55 | 100 | 90 | 3000 | 150 | 1.400 | 0.650 |
| Nombre | Taper | Débit nominal (L/S) |
Effort (m) |
Pouvoir (kW) |
Vitesse (tr/min) |
Calibre (mm) |
Pression de service maximale (≤MPa) |
150 % de la pression nominale du débit (≥MPa) |
| 186 | XBD4.0/60GJ-SEAD | 60 | 40 | 37 | 3000 | 150 | 0.560 | 0.260 |
| 187 | APPAREIL XBD5.0/60GJ | 60 | 50 | 45 | 3000 | 150 | 0.700 | 0.325 |
| 188 | XBD6.0/60GJ-SEAD | 60 | 60 | 55 | 3000 | 150 | 0.840 | 0.390 |
| 189 | XBD7.0/60GJ-SEAD | 60 | 70 | 75 | 3000 | 150 | 0.980 | 0.455 |
| 190 | APPAREIL XBD8.0/60GJ | 60 | 80 | 75 | 3000 | 150 | 1.120 | 0.520 |
| 191 | APPAREIL XBD9.0/60GJ | 60 | 90 | 90 | 3000 | 150 | 1.260 | 0.585 |
| 192 | XBD10.0/60GJ-SEAD | 60 | 100 | 90 | 3000 | 150 | 1.400 | 0.650 |
| 193 | XBD12.0/60GJ-SEAD | 60 | 120 | 110 | 3000 | 150 | 1.680 | 0.780 |
| 194 | XBD14.0/60GJ-SEAD | 60 | 140 | 131 | 3000 | 150 | 1.960 | 0.910 |
| 195 | APPAREIL XBD16.0/60GJ | 60 | 160 | 160 | 3000 | 150 | 2.240 | 1.040 |
| 196 | XBD18.0/60GJ-SEAD | 60 | 180 | 160 | 3000 | 150 | 2.520 | 1.170 |
| 197 | APPAREIL XBD20.0/60GJ | 60 | 200 | 200 | 3000 | 150 | 2.800 | 1.300 |
| 198 | XBD3.0/70GJ-SEAD | 70 | 30 | 37 | 3000 | 150 | 0.420 | 0.195 |
| 199 | APPAREIL XBD4.0/70GJ | 70 | 40 | 45 | 3000 | 150 | 0.560 | 0.260 |
| 200 | XBD5.0/70GJ-SEAD | 70 | 50 | 55 | 3000 | 150 | 0.700 | 0.325 |
| 201 | APPAREIL XBD6.0/70GJ | 70 | 60 | 75 | 3000 | 150 | 0.840 | 0.390 |
| 202 | XBD7.2/70GJ-SEAD | 70 | 72 | 90 | 3000 | 150 | 1.008 | 0.468 |
| 203 | XBD8.2/70GJ-SEAD | 70 | 82 | 110 | 3000 | 150 | 1.148 | 0.533 |
| 204 | XBD9.0/70GJ-SEAD | 70 | 90 | 110 | 3000 | 150 | 1.260 | 0.585 |
| 205 | XBD10.0/70GJ-SEAD | 70 | 100 | 132 | 3000 | 150 | 1.400 | 0.650 |
| 206 | XBD13.0/70GJ-SEAD | 70 | 130 | 160 | 3000 | 150 | 1.820 | 0.845 |
| 207 | XBD15.0/70GJ-SEAD | 70 | 150 | 200 | 3000 | 150 | 2.100 | 0.975 |
| 208 | XBD3.0/80GJ-SEAD | 80 | 30 | 37 | 3000 | 150 | 0.420 | 0.195 |
| 209 | XBD4.0/80GJ-SEAD | 80 | 40 | 45 | 3000 | 150 | 0.560 | 0.260 |
| 210 | APPAREIL XBD5.0/80GJ | 80 | 50 | 55 | 3000 | 150 | 0.700 | 0.325 |
| 211 | XBD6.0/80GJ-SEAD | 80 | 60 | 75 | 3000 | 150 | 0.840 | 0.390 |
| 212 | XBD7.2/80GJ-SEAD | 80 | 72 | 90 | 3000 | 150 | 1.008 | 0.468 |
| 213 | XBD8.2/80GJ-SEAD | 80 | 82 | 110 | 3000 | 150 | 1.148 | 0.533 |
| 214 | XBD9.0/80GJ-SEAD | 80 | 90 | 110 | 3000 | 150 | 1.260 | 0.585 |
| 215 | XBD10.0/80GJ-SEAD | 80 | 100 | 132 | 3000 | 150 | 1.400 | 0.650 |
| 216 | XBD13.0/80GJ-SEAD | 80 | 130 | 160 | 3000 | 150 | 1.820 | 0.845 |
| 217 | APPAREIL XBD15.0/80GJ | 80 | 150 | 200 | 3000 | 150 | 2.100 | 0.975 |
| 218 | XBD3.0/90GJ-SEAD | 90 | 30 | 55 | 3000 | 200 | 0.420 | 0.195 |
| 219 | APPAREIL XBD4.0/90GJ | 90 | 40 | 75 | 3000 | 200 | 0.560 | 0.260 |
| 220 | XBD5.0/90GJ-SEAD | 90 | 50 | 75 | 3000 | 200 | 0.700 | 0.325 |
| 221 | APPAREIL XBD6.0/90GJ | 90 | 60 | 90 | 3000 | 200 | 0.840 | 0.390 |
| 222 | XBD7.0/90GJ-SEAD | 90 | 70 | 110 | 3000 | 200 | 0.980 | 0.455 |
| Nombre | Taper | Débit nominal (L/S) |
Effort (m) |
Pouvoir (kW) |
Vitesse (tr/min) |
Calibre (mm) |
Pression de service maximale (≤MPa) |
150 % de la pression nominale du débit (≥MPa) |
| 223 | XBD8.0/90GJ-SEAD | 90 | 80 | 110 | 3000 | 200 | 1.120 | 0.520 |
| 224 | XBD9.0/90GJ-SEAD | 90 | 90 | 132 | 3000 | 200 | 1.260 | 0.585 |
| 225 | APPAREIL XBD10.2/90GJ | 90 | 102 | 160 | 3000 | 200 | 1.428 | 0.663 |
| 226 | APPAREIL XBD12.0/90GJ | 90 | 120 | 200 | 3000 | 200 | 1.680 | 0.780 |
| 227 | XBD3.0/100GJ-SEAD | 100 | 30 | 55 | 3000 | 200 | 0.420 | 0.195 |
| 228 | DISPOSITIF XBD4.0/100GJ | 100 | 40 | 75 | 3000 | 200 | 0.560 | 0.280 |
| 229 | XBD5.0/100GJ-SEAD | 100 | 50 | 75 | 3000 | 200 | 0.700 | 0.325 |
| 230 | XBD6.0/100GJ-SEAD | 100 | 60 | 90 | 3000 | 200 | 0.840 | 0.390 |
| 231 | XBD7.0/100GJ-SEAD | 100 | 70 | 110 | 3000 | 200 | 0.980 | 0.455 |
| 232 | XBD8.0/100GJ-SEAD | 100 | 80 | 132 | 3000 | 200 | 1.120 | 0.520 |
| 233 | XBD9.0/100GJ-SEAD | 100 | 90 | 160 | 3000 | 200 | 1.260 | 0.585 |
| 234 | XBD9.8/100GJ-SEAD | 100 | 98 | 200 | 3000 | 200 | 1.372 | 0.637 |
| 235 | XBD3.0/110GJ-SEAD | 100 | 30 | 55 | 3000 | 200 | 0.420 | 0.195 |
| 236 | XBD4.0/110GJ-SEAD | 110 | 40 | 75 | 3000 | 200 | 0.560 | 0.260 |
| 237 | XBD5.0/110GJ-SEAD | 110 | 50 | 90 | 3000 | 200 | 0.700 | 0.325 |
| 238 | XBD6.0/110GJ-SEAD | 110 | 60 | 110 | 3000 | 200 | 0.840 | 0.390 |
| 239 | XBD7.0/110GJ-SEAD | 110 | 70 | 132 | 3000 | 200 | 0.980 | 0.455 |
| 240 | XBD8.0/110GJ-SEAD | 110 | 80 | 160 | 3000 | 200 | 1.120 | 0.520 |
| 241 | XBD9.0/110GJ-SEAD | 110 | 90 | 160 | 3000 | 200 | 1.260 | 0.585 |
| 242 | XBD10.0/110GJ-SEAD | 110 | 100 | 200 | 3000 | 200 | 1.400 | 0.650 |
| № | TAILLE DE MONTAGE | УГОЛ | ПОДВАЛ | ||||||||||||||
| H | A | E | L1 | L2 | B | C | 4-Fd1 | D | D1 | DN | n-Φd | C1 | B1 | B2 | T | 4-d2 | |
| 1-5L/S | L'eau est profonde | 110 | Φ220 | 225 | 175 | 275 | 350 | 4-Φ22 | 165 | 125 | 50 | 4-Φ18 | 600 | 275 | f280 | 300 | 4-Φ50 |
| 10-15L/S | L'eau est profonde | 125 | Φ260 | 260 | 200 | 280 | 400 | 4-Φ22 | 200 | 160 | 80 | 4-Φ18 | 600 | 280 | Φ280 | 300 | 4-Φ50 |
| 20-15L/S | L'eau est profonde | 125 | f260 | 260 | 200 | 280 | 400 | 4-Φ22 | 220 | 180 | 100 | 8-Φ18 | 600 | 280 | Φ280 | 300 | 4-Φ50 |
| 40-80L/S | L'eau est profonde | 180 | φ305 | 310 | 223 | 310 | 450 | 4-Φ22 | 285 | 240 | 150 | 8-Φ22 | 700 | 310 | Φ310 | 300 | 4-Φ50 |
| 90-110L/S | L'eau est profonde | 250 | F305 | 380 | 255 | 360 | 510 | 4-Φ22 | 340 | 295 | 200 | 12-Φ22 | 800 | 360 | Φ330 | 300 | 4-Φ50 |